一、受理范围
1.本行政许可适用属于楚雄市行政审批局审批范围的集中式供水单位。
2.符合下列条件之一的单位可以提出申请:
(1)供水单位供应的饮用水必须符合国家生活饮用水卫生标准;
(2)供水单位新建、改建、扩建的饮用水供水工程项目应当符合卫生要求;
(3)供水单位取得市场监督管理部门颁发的营业执照;
(4)供水单位必须有水质净化消毒设施及必要的水质检验仪器、设备和人员;
(5)法律、法规规定的其他条件。
3.具有下列情形之一的,不予受理:
(1)供水单位供应的饮用水达不到国家生活饮用水卫生标准的;
(2)供水单位新建、改建、扩建的饮用水供水工程项目不符合卫生要求,选址和设计审查、竣工验收卫生健康主管部门未参加;
(3)供水单位未取得市场监督管理部门颁发的营业执照;
(4)供水单位没有水质净化消毒设施及必要的水质检验仪器、设备和人员;
(5)法律、法规规定的其他条件.
二、办理依据
《中华人民共和国传染病防治法》第二十九条 饮用水供水单位从事生产或者供应活动,应当依法取得卫生许可证。《生活饮用水卫生监督管理办法》第四条 国家对供水单位和涉及饮用水卫生安全的产品实行卫生许可制度。第七条 集中式供水单位取得工商行政管理部门颁发的营业执照后,还应当取得县级以上地方人民政府卫生计生主管部门颁发的卫生许可证,方可供水。第二十条 供水单位卫生许可证由县级以上人民政府卫生计生主管部门按照本办法第十六条规定的管理范围发放,有效期四年。有效期满前六个月重新提出申请换发新证。
三、实施机关
楚雄市行政审批局
四、审批条件
(一)新办
1.予以批准的条件:
(1)饮用水供水单位选址、设计、流程布局、生产工艺、生产设备、卫生设施和水源等必须符合《生活饮用水卫生监督管理办法》、《生活饮用水集中式供水单位卫生规范》等卫生法律、法规、规章、卫生标准和卫生规范的要求,具备制水过程中控制污染的条件和措施;
(2)具有卫生管理制度、组织和经过专业培训的专兼职卫生管理人员;
(3)从业人员必须持有有效卫生知识培训合格证;
(4)具有符合卫生要求的净水用原(辅)材料、工具、容器等,所使用的各类水处理剂、消毒剂、管材管件和水处理器等涉水产品必须有卫生许可批件;
(5)供水单位需设有完善的水质检验人员、水质检验设备,水质检验项目达到国家卫生要求;
(6)法律、法规规定的其他条件。
2.具有下列情形之一的,不予批准:
(1)供水单位不在楚雄市行政审批局管辖范围;
(2)供水单位供应的生活饮用水不符合《生活饮用水卫生标准》的要求;
(3)水源选择与卫生防护、生活饮用水生产卫生要求和污染事件报告处理、水质检验、从业人员等不符合《生活饮用水集中式供水单位卫生规范》及国家有关规范、标准和规定的要求;
(4)不具有符合卫生要求的净水用原(辅)材料、工具、容器等,所使用的各类水处理剂、消毒剂、管材管件和水处理器等涉水产品无卫生许可批件;
(5)供水单位未设有完善的水质检验人员、水质检验设备,水质检验项目不能达到国家卫生要求;
(6)法律、法规规定的其他条件。
(二)补证
予以批准的条件:
1.已取得楚雄市行政审批局核发的供水单位《卫生许可证》的单位遗失供水单位《卫生许可证》提出补办;
2.在省州级媒体(如《云南日报》、《楚雄日报》),刊登供水单位《卫生许可证》遗失公告。
(三)依申请注销的准予批准条件
1.予以批准的条件:
(1)供水单位主动提出书面注销申请,应提交供水单位《卫生许可证》原件。
(2)行政许可有效期届满未申请延续的;
(3)行政许可依法被撤销、撤回,或者行政许可证件依法被吊销的;
(4)法律、法规规定的应当注销行政许可的其他情形。
2.具有下列情形之一的,不予批准:
供水单位《卫生许可证》合法、有效,经办人不能提交法人或主要负责人授权委托书和经办人身份证原件及复印件的;
(四)依申请变更准予批准的条件:-
1.场所变更,应当按重新办理供水单位《卫生许可证》,条件同新办(首次);
2.单位名称、法人变更准予批准的条件为:
(1)取得楚雄市行政审批局核发的有效的供水单位《卫生许可证》;
(2)非本人办理的经办人应提交单位授权委托书、经办人身份证原件及复印件;
(3)变更单位名称的还应提交《营业执照》复印件;
(4)变更法定代表人的需提供原法定代表人及变更后法定代表人的证明文件及身份证复印件和变更后的《营业执照》复印件;
(5)法律法规规定的其他条件。
(五)延续
1.予以批准的条件:
(1)取得楚雄市行政审批局核发的供水单位《卫生许可证》有效期届满需要继续延续的;
(2)具有卫生管理制度、组织和经过专业培训的专兼职卫生管理人员;
(3)从业人员必须持有有效健康合格证明、卫生知识培训合格证;
(4)所使用的各类水处理剂、消毒剂、水处理器等涉水产品必须有卫生许可批件;
(5)供水单位需设有完善的水质检验人员、水质检验设备,水质检验项目达到国家卫生要求;
(6)法律、法规规定的其他条件。
2.具有下列情形之一的,不予批准:
(1)供水单位不在楚雄市行政审批局管辖范围;
(2)供水单位供应的生活饮用水不符合《生活饮用水卫生标准》的要求;
(3)供水单位未设有完善的水质检验人员、水质检验设备,水质检验项目不能达到国家卫生要求;
(4)所使用的各类水处理剂、消毒剂、水处理器等涉水产品无卫生许可批件;
(5)法律、法规规定的其他条件。
五、办理地点
办理地点:云南省楚雄州楚雄市瑞东路279号楚雄市人民政府政务服务中心一楼165-167号窗口。
办理时间:星期一至星期五,09:00-12:00,13:00-17:00(法定节假日按国家假期安排调整办理时间)
交通方式:楚雄市内可乘2路、4路、5路、16路公交车到市政务服务中心站下车。
六、申请材料
供水单位卫生许可申请材料目录
序号 |
提交材料名称 |
原件/ 复印件 |
纸质/ 电子文件 |
份数 |
新办 |
延续 |
注销 |
变更 |
补证 |
1 |
供水单位卫生许可申请表 |
原件 |
纸质 |
1 |
√ |
|
|
|
|
2 |
申请人的法人证书或营业执照以及法人代表证书或负责人资格证明材料 |
原件、复印件 |
纸质 |
1 |
√ |
√ |
√ |
√ |
√ |
3 |
厂区位置示意图 |
原件 |
纸质 |
1 |
√ |
|
|
|
|
4 |
生产场所平面布置图 |
原件 |
纸质 |
1 |
√ |
|
|
|
|
5 |
涉及生活饮用水卫生安全产品包括管材、管件、滤料等的卫生许可批件复印件 |
复印件 |
纸质 |
1 |
√ |
|
|
|
|
6 |
消毒剂、水处理剂生产企业生产许可证、工商营业执照复印件或卫生许可批件 |
复印件 |
纸质 |
1 |
√ |
√ |
|
|
|
7 |
具有资质机构出具的有效消毒剂、水处理剂和水质(包括水源水、出厂水、末梢水)检验报告 |
复印件 |
纸质 |
1 |
√ |
√ |
|
|
|
8 |
供水工艺流程及净水消毒工艺流程及简述 |
原件 |
纸质 |
1 |
√ |
√ |
|
|
|
9 |
水质净化消毒设施及必要的水质检验仪器、设备清单 |
原件 |
纸质 |
1 |
√ |
√ |
|
|
|
10 |
卫生质量检验人员资格证明 |
原件、复印件 |
纸质 |
1 |
√ |
√ |
|
|
|
11 |
从业人员有效卫生知识培合格证复印件 |
原件、复印件 |
纸质 |
1 |
√ |
√ |
|
|
|
12 |
卫生质量控制体系相关材料(包括卫生管理组织机构、卫生管理制度及自检情况等) |
原件 |
纸质 |
1 |
√ |
√ |
|
|
|
13 |
授权委托书,委托人和被委托人居民身份证或其他有效身份证明 |
原件、复印件 |
纸质 |
1 |
√ |
√ |
√ |
√ |
√ |
14 |
供水单位卫生许可延续申请表 |
原件 |
纸质 |
1 |
|
√ |
|
|
|
15 |
供水单位卫生许可注销申请表 |
原件 |
纸质 |
1 |
|
|
√ |
|
|
16 |
许可证补办申请 |
原件 |
纸质 |
1 |
|
|
|
|
√ |
17 |
供水单位卫生许可变更申请表 |
原件 |
纸质 |
1 |
|
|
|
√ |
|
18 |
《卫生许可证》 |
原件 |
纸质 |
1 |
|
√ |
√ |
√ |
|
19 |
申请变更登记(原因、项目、理由),并提交相应的证明文件和材料 |
原件、复印件 |
纸质 |
1 |
|
|
|
√ |
|
注:所有申请材料应当真实、完整,提交的申请材料均应逐页加盖本机构公章。
七、审批时限
受理时限:受理期限为2个工作日,窗口审查申报资料完整性。
办理时限:办理期限为15个工作日(现场验收时间和单位整改时间不计算在内)。
法定时限:20个工作日
承诺时限:15个工作日
八、审批收费
不收费
九、共同审批与前置审批
无
十、中介服务
(一)中介服务事项名称
生活饮用水主要卫生指标检测。
(二)实施依据
《生活饮用水卫生监督管理办法》第六条供水单位供应的饮用水必须符合国家生活饮用水卫生标准。
(三)中介服务机构资质条件
县级以上卫生行政部门资质认证的检验技术服务机构。
十一、年审年检与指定培训
无
十二、资质资格
无
十三、审批流程
(一)申请
1.提交方式
(1)窗口提交:云南省楚雄州楚雄市瑞东路279号楚雄市人民政府政务服务中心一楼165-167号窗口 ;
(2)网上提交:云南政务服务网(https://zwfw.yn.gov.cn/portal )→切换区域和部门→楚雄市→办事服务→《饮用水供水单位卫生许可》→在线办理;
2.提交时间
窗口提交时间:星期一至星期五,09:00-12:00,13:00-17:00(法定节假日按国家假期安排调整办理时间);
网上提交时间:全天(24小时);
(二)受理
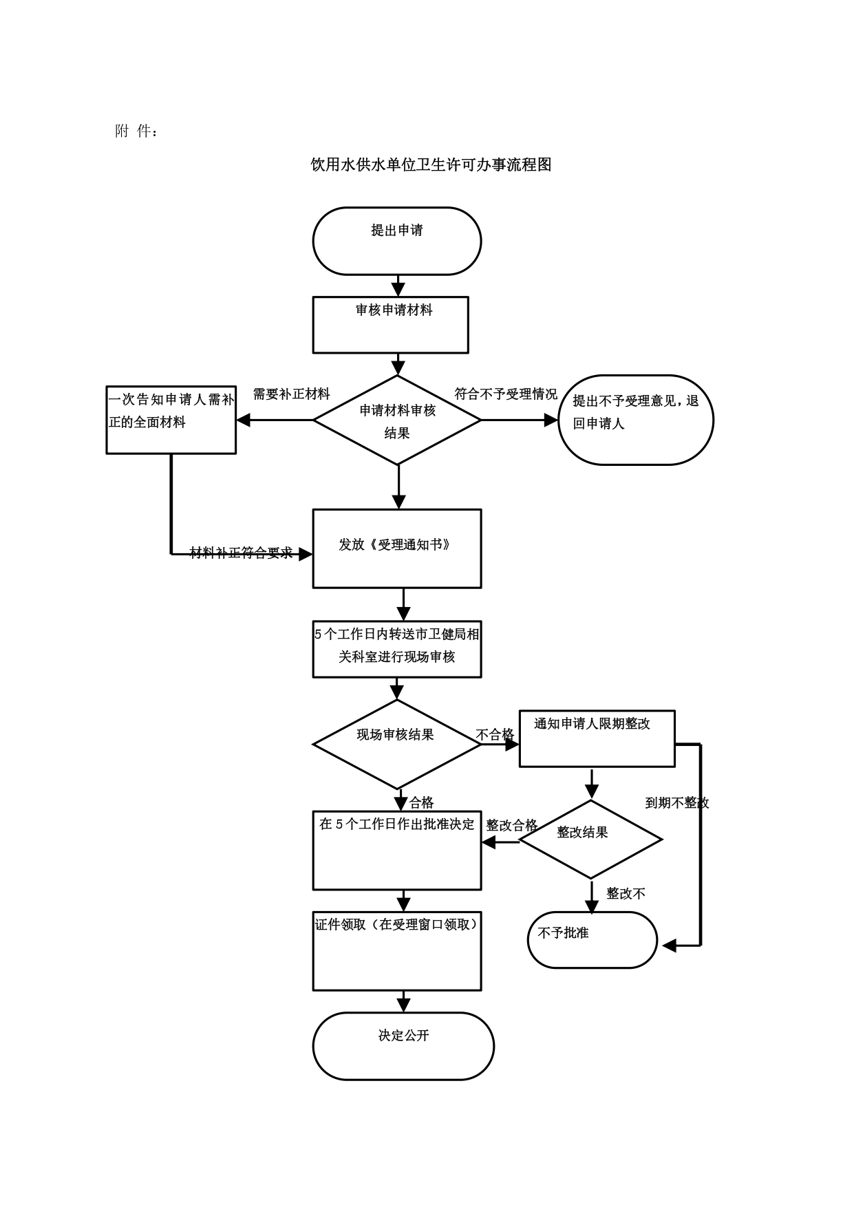
楚雄市政务服务中心165-167号窗口收到申请后,对申请资料的技术性、合法性审查,在2个工作日作出决定。符合要求的,准予受理,并向申请人发送《受理通知书》;对申请材料不符合要求的,将作出不予受理的决定,并发出《不予受理通知书》。对申请材料不符合要求且可以通过补正达到要求的,根据《中华人民共和国行政许可法》第三十二条规定区别不同情况,分别作出相应处理:
1、申请事项不属于本局职权范围内的,应当即时作出不予受理的决定,并告知申请人向有关机关申请。
2、申请材料存在可以当场更正的错误的,应当允许申请人当场更正。
3、申请材料不齐全或者不符合要求的,应当当场或在2个工作日内一次性告知申请人需要补正的全部内容,逾期不告知的,自收到申请材料之日起即为受理。
4、申请材料齐全、符合要求,或者申请人依照要求提交全部补正申请材料的,自收到申请材料或者补正材料之日起为受理。
(三)现场审核
受理后5个工作日内由楚雄市卫健局组织现场审核,由楚雄市卫健局派2名以上卫生监督员到经营场所进行现场审核,自受理申请之日起5个工作日内完成现场审核,编制和上报审核报告(现场验收时间和申请单位整改的时间不计算在内)。
(四)审批
楚雄市行政审批局在5个工作日内对申请报告进行审核,作出是否核准的决定。予以核准的自作出核准决定之日起5日内向申请人作出核准的审查意见;不予核准的应当书面告知申请人,并说明理由。
十四、审批服务
(一)咨询方式
1.窗口咨询:云南省楚雄州楚雄市瑞东路279号楚雄市人民政府政务服务中心一楼165-167号窗口 ;
2.网上咨询:http://www.cxs.gov.cn/index.htm(楚雄市人民政府门户网站)→互动交流→在线咨询(页面底部)
3.电话咨询:工作时间拨打0878-6087516进行咨询。
(二)咨询回复
网上回复、通过窗口回复。
(三)办理进程查询
窗口查询:云南省楚雄州楚雄市瑞东路279号楚雄市人民政府政务服务中心一楼165-167号窗口 ;
电话查询:工作时间拨打0878-6087516进行咨询。
(四)获取办理结果
审批证件为:《卫生许可证》,证书有效期四年。有效期满前六个月提出申请延续换发新证。领取方式:直接领取。无法送达文书时,应通过网上或电话通知申请人现场领取;申请人10个工作日内未来领取的,通过局网站公告,自公告之日满60天,即视为送达。
(五)监督投诉
现场投诉:云南省楚雄州楚雄市瑞东路279号楚雄市人民政府政务服务中心三楼313督查科;
电话投诉:州政府热线0878-12345;州纪委市监察委0878-12388;市政务服务局0878-6087512;楚雄市纪委、监委派驻市自然资源局纪检组0878-3159982;
网上投诉:云南政务服务网(https://zwfw.yn.gov.cn/portal/#/home)
信函投诉:收件人:楚雄市纪委、监委派驻市自然资源局纪检组,通讯地址:云南省楚雄市阳光大道市自然资源局六楼,邮编编码:675000
(六)行政复议或行政诉讼
自知道该具体行政行为之日起60日内向楚雄市人民政府提出行政复议,或6个月内依法向楚雄市人民法院提起行政诉讼。
十五、文书表单及办事指南获取
相关文书表单及办事指南可到云南政务服务网(https://zwfw.yn.gov.cn/portal )→切换区域和部门→楚雄市→办事服务→《饮用水供水单位卫生许可》→办事指南或在办理窗口直接领取。
十六、流程示意图
详见附件: 生活饮用水供水单位卫生许可办事流程图
