一、受理范围
1.本行政许可适用于楚雄市辖区范围内
2.符合下列条件之一的船舶所有人和经营人可以提出申请:
材料齐全,符合法定形式的。
3.具有下列情形之一的,不予受理:
申请人不符合法定条件。
材料不齐全,不符合法定形式的。
二、办理依据
2009年5月27日经第5次部务会议通过,《中华人民共和国航道管理条例实施细则》第三十条:“除疏浚、整治航道所必需的排泥、抛石外,禁止向河道倾倒泥沙、石块和废弃物。”
“在通航河道内挖取砂石泥土、开采砂金、堆放材料,必须报河道主管部门会同航道主管部门批准,涉及水上交通安全的,事先征得港监部门同意,并按照批准的水域范围和作业方式开采,不得恶化通航条件。”
《楚雄州人民政府关于进一步精简行政审批项目的决定》楚政发[2015]3号
三、实施机关
本许可实施机关为楚雄市行政审批局
四、审批条件
在通航河道内挖取砂石泥土、开采砂金、堆放材料,必须按照批准的水域范围和作业方式开采,不得恶化通航条件。
五、受理地点
受理地点:楚雄市政务服务中心(楚雄市瑞东路279号)
办事窗口:楚雄市政务服务中心投资项目综合咨询接件窗口
办公时间:星期一至星期五上午9:00-12:00,下午1:00-5:00(法定节假日除外)。
交通方式:市内可乘2、5路公交车到市政务服务中心站下车即到。
六、申请材料
通航河道内挖取砂石泥土、开采砂金、堆放材料审批申请材料目录
序号 |
提交材料名称 |
原件/复印件 |
纸质/电子文件 |
份数 |
新办 |
增项 |
到期复查 |
依申请变更(生产条件变更) |
其他依申请变更 |
补证 |
依申请注销 |
依据 |
备注 |
1 |
申请书 |
原件 |
纸质 |
1 |
√ |
|
|
|
|
|
|
|
|
2 |
船舶所有权证书 |
原件及复印件 |
纸质 |
1 |
√ |
|
|
|
|
|
|
|
|
3 |
河道部门许可等相关部门许可 |
原件及复印件 |
纸质 |
1 |
√ |
|
|
|
|
|
|
|
|
4 |
授权委托书(含统一社会信用代码证或组织机构代码证复印件、法定代表人及被委托人身份证复印件) |
原件 |
纸质 |
1 |
√ |
|
|
|
|
|
|
|
|
注:复印件应选用A4纸张,需注明“与原件核对无误”,加盖单位公章。
七、审批时限
受理时限:1.通过网上预审符合要求的,纸质材料和网上提交材料核对无误的,当场受理;2.未进行网上预审的,受理期限为5个工作日。
办理时限:申请人提出的新办(首次)、增项、等业务的办理,办理期限为13个工作日(现场考核时间不计算在内)。.发证:楚雄市行政审批局自作出核准决定之日起20日内向申请人给予交通行政许可证;作出不予核准决定的,应当书面告知申请人,并说明理由。
八、审批收费
不收费
九、共同审批与前置审批(无)
(一)共同审批
无
(二)前置审批
无
十、中介服务(无)
无
十一、年审年检与指定培训(无)
无
十二、资质资格(无)
无
十三、审批流程
(一)申请
1.提交方式
(1)窗口提交。地址:楚雄市瑞东路政务服务中心项目投资服务区综合接件/出件窗口。(楚雄市瑞东路279号)
(2)网络提交。网址:云南政务服务网(网址:https://zwfw.yn.gov.cn/portal)→办事服务→楚雄市政务服务管理局→通航河道内挖取砂石泥土、开采砂金、堆放材料审批
2.提交时间
窗口提交:星期一至星期五上午9:00-12:00,下午1:00-5:00(法定节假日除外)。
网络提交:时间不限。
(二)受理
楚雄市行政审批局收到申请后,在5个工作日作出决定。
对申请材料符合要求的,准予受理。对申请材料不符合要求的,应当书面告知申请人,并说明理由,逾期不告知的,自收到申请材料之日起即为受理
(三)考核
受理后5个工作日内有关机构组织考核,自受理申请之日起13个工作日内完成考核,现场考核时间和申请单位(个人)整改的时间不计算在内。
(四)审批发证
申请人提出的新办(首次)、增项、等业务的办理,办理期限为13个工作日(现场考核时间不计算在内)。发证:楚雄市行政审批局自作出核准决定之日起20日内向申请人给予交通行政许可证。
十四、审批服务
(一)咨询方式
1.窗口咨询:楚雄市人民政府政务服务中心一楼项目投资服务区综合接件/出件窗口。
2.网上咨询:在云南政务服务网(https://zwfw.yn.gov.cn/portal)进行在线咨询。
3.电话咨询:工作时间拨打0878-6087513进行咨询。
乘车路线:楚雄市内可乘2路、5路公交车到市政务服务中心站下车。
(二)咨询回复
通过窗口和电话咨询的,将当场得到回复;通过网络咨询的,将在2个工作日内在网络上的到回复。
(三)办理进程查询
申请人可通过云南政务服务网(网址:https://zwfw.yn.gov.cn/portal查询审批事项办理进程。
(四)获取办理结果
送达方式:直接领取
(五)监督投诉
1.窗口投诉:楚雄市政务服务管理局三楼督查科313办公室。
2.电话投诉:市政府热线0878-12345;市纪委市监察委0878-12388;市政务服务局0878-6087512;楚雄市纪委、监委派驻市自然资源局纪检组0878-3159982。
3.信函投诉:楚雄市纪委、监委派驻市自然资源局纪检组,通讯地址:云南省楚雄市阳光大道市自然资源局六楼,邮编:675000,电子邮箱:cxsggzyjyzx@163.com。
乘车路线:楚雄市内可乘8路、14路、15路、16路公交车到复民眼科医院站下车。(六)行政复议或行政诉讼
自知道该具体行政行为之日起六十日内向楚雄市人民政府提出行政复议,或六个月内依法向人民法院提起行政诉讼。
十五、文书表单及办事指南获取
相关文书表单及办事指南可到“云南政务服务网(网址:https://zwfw.yn.gov.cn/portal)→办事服务→楚雄市政务服务管理局→通航河道内挖取砂石泥土、开采砂金、堆放材料审批→办事指南”或在受理窗口直接领取。
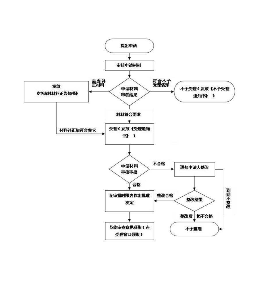
十六、流程示意图
详见附件:核发通航河道内挖取砂石泥土、开采砂金、堆放材料审批办事流程示意图
